1. Tuyển Mod quản lý diễn đàn. Các thành viên xem chi tiết tại đây

Apple nhá hàng tai nghe iPhone đời mới, bạn thấy thích không?

Chủ đề trong 'Điện - Điện tử - Viễn thông' bởi dinhhaianh091, 01/08/2015.

  1. 1 người đang xem box này (Thành viên: 0, Khách: 1)
  1. dinhhaianh091

    dinhhaianh091 Thành viên quen thuộc

    Tham gia ngày:
    27/05/2015
    Bài viết:
    788
    Đã được thích:
    0
    Một trong những vấn đề nhỏ nhưng ảnh hưởng lớn đến người dùng iPhone là tai nghe của máy hay bị rơi ra khỏi tai khi họ chạy bộ hoặc di chuyển. Gần đây, Apple đã nghĩ ra cách giải quyết vấn đề đó, vì vậy họ cũng tạo ra bằng sáng chế cho cách này.

    >>> iphone 5

    >>> Lenovo P780

    >>> iphone 6


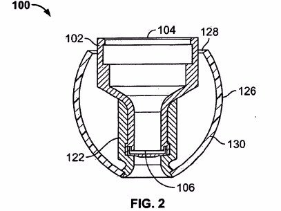
    Apple đã đưa ra bằng sáng chế về tai nghe Earpod không rơi khi bạn đang tập thể dục. Mặc dù bằng này đã được họ hoàn thành vào năm ngoái nhưng bây giờ, nó mới chính thức được thông qua.

    [​IMG]

    [​IMG]

    [​IMG]

    Tai nghe Earpod kiểu mới


    Ý tưởng là Apple sẽ tạo ra một chiếc tai nghe với một phân đoạn bên ngoài uốn cong để phù hợp với tai của người dùng. Tất nhiên, thiết kế mới này không phải là cuộc cách mạng, nhưng nó chắc chắn là một bản nâng cấp từ các tai nghe Earpod cứng nhắc mà Apple đang bán kèm theo iPhone.
    [​IMG]

    Tai nghe Earpod cũ


    Thiết kế tai nghe Earpod của Apple hiện nay cũng đã gần bốn năm tuổi (kể từ khi nó ra mắt cùng iPhone 5) và có lẽ sắp tới là thời điểm thích hợp để họ thay đổi tai nghe này, có thể là nó sẽ được phát hành kèm theo cả iPhone 6s.
  2. 4B1601

    4B1601 Thành viên mới

    Tham gia ngày:
    24/07/2015
    Bài viết:
    8
    Đã được thích:
    0
    Tiếc là chưa dc thấy hình ảnh thực tế sp mới nhỉ

Chia sẻ trang này